西贝拿到“救命钱”,然后呢
西贝又有新动作。
近日,天眼查App显示,内蒙古西贝餐饮集团有限公司完成A轮融资,注册资本从0.89亿元增至1.02亿元,增幅13.1%。
此次融资,西贝引入多家新股东,包括台州新荣泰投资有限公司、呼和浩特市集体共创企业管理中心、杭州舟轩股权投资管理合伙企业和成都迅达光电有限公司。
其中,台州新荣泰投资有限公司由创始人张勇100%持股;杭州舟轩股权投资管理合伙企业由胡晓明持股97%,他曾任阿里合伙人、蚂蚁集团CEO,现任一米八农业科技董事长兼首席品控官。
那么,这次融资对于风暴中的西贝意味着什么?西贝距离上市还有多远?
贾国龙仍是实控人
这笔融资很可能不是心血来潮。
资深投行人士王骥跃告诉中国新闻周刊,融资需要沟通、谈判和筹备,时间周期都会比较长,现在只是合同正式落地而已。
汇生国际资本总裁黄立冲也补充表示,融资周期通常是3个月到1年时间,按此推算,西贝应该早就在计划融资了。
而随着新股东的进入,西贝的股权结构也相应发生变化。
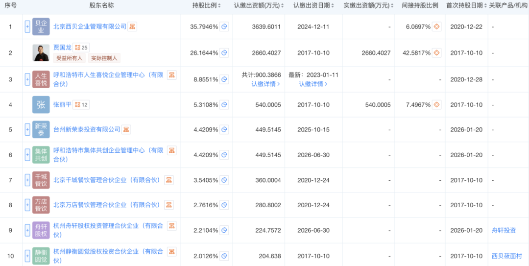
据天眼查App显示,西贝最大的股东仍是北京西贝企业管理有限公司,持股比例为35.79%;贾国龙个人持股26.16%,呼和浩特市人生喜悦企业管理中心持股8.86%,贾国龙的妻子张丽平个人持股5.31%。

图源:天眼查App
而新晋股东的持股比例合计为11.58%。
值得注意的是,虽然贾国龙的直接持股比例从29.59%稀释至26.16%,但他仍旧是西贝的实际控制人。
中国新闻周刊通过股权穿透发现,贾国龙还通过控股北京西贝企业管理有限公司等其他股东,来实现对西贝的间接控股。贾国龙间接持股比例为42.58%,总持股比例达到了68.7%。甚至张丽平总持股比例也达到13.78%,二人合计持股比例达到80%以上。
在此前接受中国新闻周刊采访时,贾国龙表达了对创始人在公司“一竿子插到底”的坚持,“必须给我绝对权力,不给我绝对权力,我没法干”。
不过在连锁经营产业专家、和弘咨询总经理文志宏看来,新股东的进入或对贾国龙产生制约作用,不排除会谋求获得董事会席位的可能。
“企业引进资本,很大一个作用就是优化公司治理结构,即所谓三会一层,其中就包括决策、执行、监督机制。”他对中国新闻周刊指出。
对此黄立冲则分析认为,贾国龙总持股比例已经超过50%,在董事会中具有绝对优势。至于是否会新增席位,要看融资之前几方的具体谈判。
这并非西贝首次拥抱外部融资。在2021年,西贝通过股权转让,交易股权1.76%给青岛静衡成长创业投资合伙企业,正式开启资本化运作。
后来在2025年,西贝还获得过一轮融资,投资方是成都新潮传媒有限公司。不过几次融资均未披露融资金额。
背书与回血
西贝的资本化步伐与贾国龙对上市态度的转变有关。
早些年,贾国龙曾公开表示“西贝永远不上市”,但在经历疫情冲击后,贾国龙意识到资本抗风险能力的重要性。2020年12月,在首届中国餐饮品牌节上,贾国龙透露西贝已决定上市,正寻找合适时间与资本。
2022年9月初,在西贝美食市集的发布会上,贾国龙宣布:“西贝计划在2026年上市,目前正按照港股要求准备IPO。”同年底,贾国龙在新年贺词中明确提到,通过2023年、2024年、2025年持续高质量发展,到2026年,西贝将完成高质量IPO、成为市值超千亿的上市公司。
然而,多位业内专家均向中国新闻周刊表示,此次融资对于西贝的IPO进程并不会产生实际影响,几位新股东在西贝门店运营、供应链建设和数字化改造等方面的帮助也比较有限。
事实上,这笔融资的最大作用,一是提供背书,向市场传递积极信号。
文志宏表示,这轮融资说明西贝的品牌形象、商业模式和体系,还是很有资本价值。王骥跃也有相似观点,投资方在西贝风波之后仍旧愿意落地,是看好西贝还有成长空间。
据此前贾国龙介绍,西贝此前连续十一年位居中式烹饪正餐营收第一名。虽然在闭店102家后,西贝或将让出头把交椅,但依旧稳居中餐第一梯队。
二是提供资金,帮助西贝渡过难关。
2025年9月爆发的预制菜风波,让西贝客流断崖下滑,现金流遭遇巨大挑战。
在此前专访中,贾国龙告诉中国新闻周刊,从去年9月至今,门店生意下滑40%—60%。此外,去年10月和11月,西贝又持续发放大额消费券,累计金额达3个多亿元。据媒体报道,西贝至今已亏损6个多亿元。
那么,西贝具体能够融到多少钱?
多位专家告诉中国新闻周刊,由于舆论发生后,西贝的估值发生变化,具体融资金额难以估算,但大致范围应该在5亿—10亿元。“毫无疑问,这笔资金对西贝至关重要。”黄立冲说。
不过回血并不代表西贝脱离危险,如何重塑信任,依然摆在贾国龙的面前。
记者:高越








