
检测完车辆外观,二手车平台检测人员准备为车辆拍照申请“上线”。

二手车平台检测人员掀开引擎盖观察车辆内部情况。

3月14日,二手车平台检测人员正在检测一辆“调表车”。

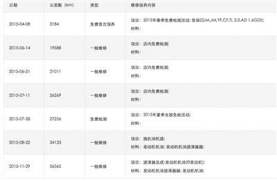
维修记录显示,被检测车辆里程数已达56365公里。

维修记录显示,被检测车辆里程数已达56365公里,而车速拍平台上显示的里程数为调后的17000公里(图)。
孙田(化名)没想到,通过瓜子二手车平台购买的“准新车”,差点发生事故。
去年6月,他驾车在广州南沙港快速路上行驶时,车子的时速由110公里瞬间降至60公里,油门完全失去反应。幸好,后方车辆急速刹车,才避免追尾事故。
回忆此事,孙田仍心有余悸。这辆花6.6万元购买的北汽绅宝汽车,平台标注显示,上牌8个月,里程数为9166公里。
刚买了半个月的车,就发生故障。孙田将车送到4s店检修,维修保养记录显示,该车实际行驶里程已超过5万公里。
“平台宣称经过259项全车检测,竟然连‘调表车’也测不出?”孙田将二手车平台和原车主告上法庭。
事实上,“调表车”通过检测,上线二手车平台,并非难事。
新京报记者近日调查发现,一些二手车平台宣称,对车辆进行超百项专业检测,但消费者在平台上,无法直接看到所有车况信息,一些平台甚至隐瞒车辆真实里程数。